新闻资讯
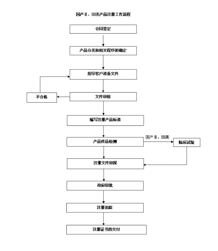
国产境内二、三类医疗器械注册流程图
2020/3/13 10:33:18
人评论
次浏览
国产境内二、三类医疗器械注册流程图
注:图片来源于网络,如有侵权请联系删除!
相关资讯
暂无相关...
首页
验厂
认证
搜索
联系我们
栏目类别
医疗产品CE
第二类医疗器械产品注册证
第二类医疗器械生产许可证
第二类体外诊断试剂产品注册证
第二类体外诊断试剂生产许可证
创新医疗器械申报
医疗器械注册人制度
进出口医疗器械产品
其他技术服务
医疗器械出口销售证明
临床试验研究
注册检验
第一类医疗器械生产备案
第一类医疗器械产品备案
消毒产品生产企业卫生许可证